|
|
Входни врати за къща
Предлагаме широко разнообразие на входни врати за Вашия дом или офис. Нашите клиенти могат да изберат различни модели на входни врати - на Чешки или Български производители.
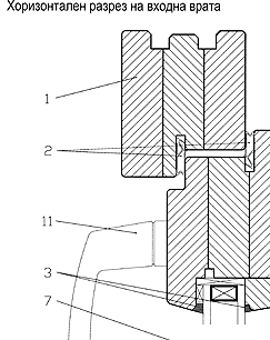
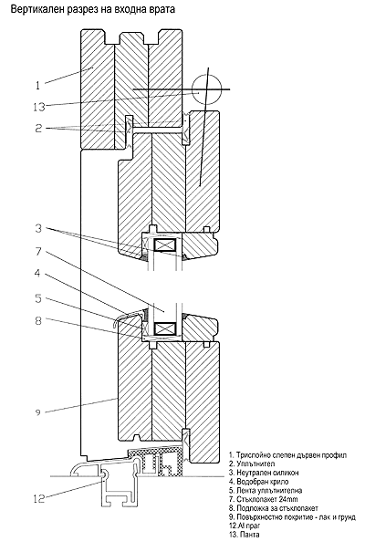
Входните врати от трислойно слепен дървен профил имат високи технологични качества, които са заложени в материала от самата природа. Качеството на тези врати се определя от както от тяхната конструкция като цяло, така и в отделните им части с прилагане на висококачествени стъклопакети, обкови и уплътнители. Колкото по-високи са изискванията към качеството на крайното изделие, толкова по-сложни технологии се използват. Дървесината е с трислойно слепен профил, съставен изцяло от радиални детайли, осигуряващи трайността на формата на крайния продукт. Стъклопакетът може да бъде класически двуслоен, но може да бъде и трислоен със стандартно или “секюрити” стъкло.
Основни характеристики:
- Трислойно слепен профил СМЪРЧ или ДЪБ
- Ниска топлопроводимост (коефицентът на топлопроводимост U = 1,1 W/m2K)
- Двойно, високо еластично уплътнение по цялта обиколка на комплекта крило-каса
- Вътрешни табли от термопанел или стъклопакет (двоен/троен)
- Брава с 5 точки за заключване
- Алуминиев праг с прекъснат термомост
- Ниска звукопроводимост
- Висока студоустойчивост на материала
- Нисък коефициент на температурно линейно разширение
- Екологичност
- Привлекателен външен вид - 3 слоен лак или боя, цвят по избор
Предлагани Модели
 Примерни модели от предлагани входни врати за къща |
|